Expansion Valve
The expansion valve removes pressure from the liquid refrigerant to allow expansion or change of state from a liquid to a vapor in the evaporator.
The high-pressure liquid refrigerant entering the expansion valve is quite warm. This may be verified by feeling the liquid line at its connection to the expansion valve. The liquid refrigerant leaving the expansion valve is quite cold. The orifice within the valve does not remove heat, but only reduces pressure. Heat molecules contained in the liquid refrigerant are thus allowed to spread as the refrigerant moves out of the orifice. Under a greatly reduced pressure the liquid refrigerant is at its coldest as it leaves the expansion valve and enters the evaporator.
Pressures at the inlet and outlet of the expansion valve will closely approximate gauge pressures at the inlet and outlet of the compressor in most systems. The similarity of pressures is caused by the closeness of the components to each other. The slight variation in pressure readings of a very few pounds is due to resistance, causing a pressure drop in the lines and coils of the evaporator and condenser.
Two types of valves are used on machine air conditioning systems:
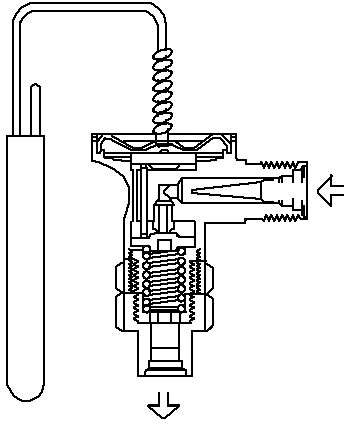
- Internally-equalized valve - most common
- Externally-equalized valve special control
Internally-Equalized Expansion Valve
If the area cooled by the evaporator suddenly gets colder, the heat transfer requirements change. If the expansion valve continued to feed the same amount of refrigerant to the evaporator, the fins and coils would get colder until they eventually freeze over with ice and the air flow is stopped.
- A thermal bulb has a small line filled with C02 is attached to the evaporator tailpipe. If the temperature on the tail pipe raises, the gas will expand and cause pressure against the diaphram. This expansion will then move the seat away from the orifice, allowing an increased refrigerant flow. As the tail pipe temperature drops, the pressure in the thermal bulb also drops, allowing the valve to restrict flow as required by the evaporator.
- The pressure of the refrigerant entering the evaporator is fed back to the underside of the diaphragm through the internal equalizing passage. Expansion of the gas in the thermal bulb must overcome the internal balancing pressure before the valve will open to increase refrigerant flow.
- A spring is installed against the valve and adjusted to a predetermined setting at the time of manufacture. This is the superheat spring which prevents slugging of the evaporator with excessive liquid.
- Superheat is an increase in temperature of the gaseous refrigerant above the temperature at which the refrigerant vaporizes. The expansion valve is designed so that the temperature of the refrigerant at the evaporator outlet must have 8 to 12°F (4 to 7°C) of superheat before more refrigerant is allowed to enter the evaporator.
- The adjusted tension of this spring is the determining factor in the opening and closing of the expansion valve. During opening or closing, the spring tension retards or assists valve operation as required.
- Normally, this spring is never adjusted in the field. Tension is adjusted from four to sixteen degrees as required for the unit on which it is to be installed. This original setting is sufficient for the life of the valve, and special equipment is required in most cases to accurately calibrate this adjustment
Externally-Equalized Expansion Valve
Operation of the externally-equalized valve is the same as the internal type except that evaporator pressure is fed against the underside of the diaphragm from the tail pipe of the evaporator by an equalizer line. This balances the temperature of the tail pipe through the expansion valve thermal bulb against the evaporator pressure taken from the tail pipe. https://www.swtc.edu
